Eng Рус

Подкормщик для ирригационных комплектов ГП 01.000

Прошел государственные испытания в 2008 году, протокол № 03-46-08 (1180092)

Технические характеристики

Рабочее давление, МПа до 0,6
Емкость бака, л 57
Масса загружаемых удобрений, кг до 60
Время опорожнения, не более, мин. 40...60
Масса, кг 82
Обслуживающий персонал, чел. 1
Диаметр подсоединительного патрубка для комплекта КИ-5, мм 90
Диаметр подсоединительного патрубка для комплекта КИ-10 110

Краткое описание

Подкормщик предназначен для внесения растворимых минеральных удобрений с поливной водой и применяется с комплектами ирригационного оборудования КИ-5, КИ-10, КИ-15, КИ-20, КИ-25, мобильным комплектом ДДПТ-30 и шланговым дождевателем во всех зонах орошаемого земледелия Российской Федерации, где эффективно дождевание и требуется внесение растворимых минеральных удобрений для повышения урожайности и плодородия почв.

В состав подкормщика входят: корпус, фланец верхний с крышкой, смесительная камера, стакан с отверстиями и ручкой, подсоединительный патрубок с диафрагмой, кранами, подводящим и отводящим рукавами.

Подкормщик может поставляться отдельно или с комплектами за дополнительную плату.

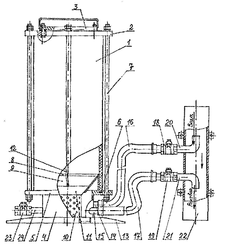
Подкормщик состоит из корпуса 1, выполненного из полиэтиленовой трубы, сверху заглушенного фланцем 2 с крышкой 3, а снизу — камерой смесительной 4 с фланцем 5. Фланцы имеют кольцевые проточки, в которых корпус уплотняется резиновыми прокладками 6 и прижимаются шпильками 7 с гайками. Внутри корпуса установлен съемный цилиндр 8 с конусом 9, а внутри камеры смесительной — стакан с отверстиями 10 с конусом 11 и ручкой 12.

Камера смесительная 4 имеет опоры 13, подводящий 14 и отводящий 15 патрубки, которые шлангами 16 и 17, кранами 18 и 19 соединены с входным 20 и выходным 21 патрубками подсоединительного патрубка 22. Для слива воды и промывки водой подкормщика, установлен сливной кран 23 на патрубке 24.

Работает подкормщик следующим образом.

Подкормщик в сборе устанавливают вертикально на опоры 13 в начале участка и подсоединяют патрубок 22 к распределительному трубопроводу, причем стрелка на патрубке должна совпадать с направлением движения воды. Патрубок вставляют в муфту с манжетами и крепят с двух сторон скобами, вставляя их в отверстия ушек хомута на трубе и на патрубке. Далее, на патрубок устанавливают муфту и трубу, крепят их скобами. Процесс сборки распределительного трубопровода комплекта приводят согласно инструкции по эксплуатации. Краны 18, 19 и 23 закрыты.

Новизна подкормщика подтверждена патентами РФ № 57075, № 75270.

Россия, 107139, г. Москва, Орликов переулок, д. 1/11 Справочная служба +7 (495) 607-80-00