Eng Рус

Комплект синхронного импульсного дождевания КСИД-1

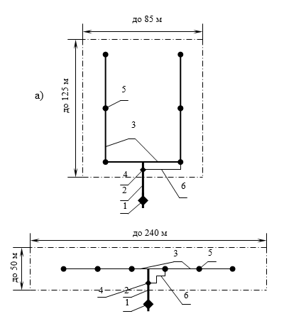
Принципиальные схемы трубопроводной сети КСИД-1: а), б) — варианты размещения (привязки) поливной сети.
1 — насосный агрегат; 2 — распределительный трубопровод; 3 — поливной трубопровод; 4 — генератор командных сигналов; 5 — дождеватель импульсный; 6 — канал управления.

Прошедший Государственные испытания в 2004 г., протокол № 03-62-04 (1180042)

Технические характеристики

Напор, м не менее 65
Расход, л/с 1,0
Площадь орошения, га до 1,0
Схема расстановки дождевателей по квадрату (40×40 м)
Средняя интенсивность дождя, мм/мин не более 0,02
Обслуживающий персонал, чел. 1 на 20 комплектов

Краткое описание

Комплект синхронного импульсного дождевания КСИД-1 предназначен для непрерывного орошения плодово-ягодных насаждений, чайных плантаций, пастбищ, а также других сельскохозяйственных культур на площади до 1,0 га на протяжении всего вегетационного периода за счёт предельного рассредоточения поливного тока и одновременного срабатывания всех импульсных дождевателей на орошаемой площади.

Комплект является модулем для устройства оросительных систем на участках со сложными рельефными условиями, с уклонами местности до 0,3 и перепадом геодезических высот в пределах модульного участка до 25 м.

Комплект оборудования синхронно-импульсного дождевания включает следующие основные элементы: насосный агрегат 1; трубопроводную сеть 2, 3; генератор командных сигналов 4; дождеватели импульсные 5.

КСИД-1 может работать от гидрантов закрытой напорной сети с давлением не менее 0,65 МПа или насосного агрегата с водозабором из открытого водоисточника или закрытого водовода (подкачивающий вариант насоса).

Насосный агрегат представляет собой электрифицированную установку с характеристиками: расход — 4 м³/ч, напор — 60 м. Предназначен для использования на участках с перепадами высот по отношению к месту установки насоса от 0 до +5 м.

Импульсный дождеватель, входящий в комплект, состоит из пневмогидроаккумулятора, гидроуправляемого запорного органа, стояка, дождевальной насадки с механизмом поворота.

Пневмогидроаккумулятор представляет собой водовоздушный бак, разделённый эластичной шаровой мембраной на две полости. В средней части бака имеется перфорированный свод для ограничения хода шаровой мембраны. Предварительно в нижнюю полость через устройство закачивается воздух до давления 0,30-0,35 МПа. В верхнюю полость поступает вода из трубопроводной сети. Гидроуправляемый орган, установленный на верхней полости — поршневого типа. Срабатывает он от кратковременного понижения давления в трубопроводной сети.

Дождевальная насадка представляет собой среднеструйный дождевальный аппарат с противоположно расположенными стволами с принудительным поворотом за каждый цикл срабатывания. Для полива сельскохозяйственных культур различной высоты имеются два варианта исполнения импульсного дождевателя с высотой установки дождевальной насадки 1,0 и 2,5 м. На испытания был выставлен импульсный дождеватель с высотой установки дождевальной насадки 2,5 м. Давление воздуха в полости пневмогидроаккумулятора — 0,30 МПа.

Новизна комплекта подтверждена авторскими свидетельствами № 305702, № 1606024, № 1664195, № 1794410 и патентом на изобретение № 2028768.

Россия, 107139, г. Москва, Орликов переулок, д. 1/11 Справочная служба +7 (495) 607-80-00